Clawfoot Tub Plumbing Diagram . Clawfoot Tub Plumbing Close to Wall and Joist Make sure to adjust the metal plate so that it fits snug with the bolts on the bathtub. Follow these steps to test and troubleshoot your clawfoot tub plumbing: 1.
How to replace a drain assembly on a claw foot tub B+C Guides from guides.brit.co
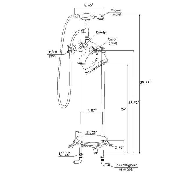
*Certain style the pipe and elbow is pre-glued, no need to seal it The top bends are to match up the 3-3/8" hole spread.
How to replace a drain assembly on a claw foot tub B+C Guides This deck mounted supply line set is for use with a clawfoot bathtub, or other freestanding tub that uses a Rim mounted faucet The top bends are to match up the 3-3/8" hole spread. Plumbing for a claw foot tub or a modern freestanding bathtub requires a drain kit and a faucet shower kit
Source: www.diynetwork.com How to Install Plumbing for a Claw Foot Tub howtos DIY , Fasten the grid (11) to inside wall of the tub by lining the hole up with the threads and screw down till tight. Follow these steps to test and troubleshoot your clawfoot tub plumbing: 1.
Source: qlixarpfy.pages.dev 14+ Clawfoot Tub Plumbing Diagram IndriyaMikey , The clawfoot tub is a classic and elegant addition to any bathroom, but its plumbing system can be a bit more complex compared to modern tubs The drain kit we used ( Kingston ) on this tub mi.
Source: www.pinterest.com How to Install a Clawfoot Tub Shower Clawfoot tub, Clawfoot tub , Seal the overflow drain pipe (7)(8) first, mount it to back side of tub wall Clawfoot Tub Plumbing Diagram: A Guide to Understanding Your Vintage Tub's Plumbing System
Source: gtachinalbo.pages.dev Clawfoot Tub Plumbing Diagram , Make sure to tighten the bolt into the clawfoot using the provided hex key DreamLine® will not be responsible for any damage to the floor, walls,
Source: faucetlist.com How to Install a Clawfoot Tub Shower , Double offset means there are two bends in each supply line going down to the floor DreamLine® will not be responsible for any damage to the floor, walls,
Source: edmondbathtubrefinishing.com 7 Bathtub Plumbing Installation Drain Diagrams , Make sure to adjust the metal plate so that it fits snug with the bolts on the bathtub. Seal the overflow drain pipe (7)(8) first, mount it to back side of tub wall
Source: www.classicclawfoottubs.com 48" Rolled Rim Cast Iron Clawfoot Tub Classic Clawfoot Tubs , DreamLine® recommends using a professional plumbing installer if you are unfamiliar with bathroom fixtures and plumbing Follow these steps to test and troubleshoot your clawfoot tub plumbing: 1.
Source: atelier-yuwa.ciao.jp Clawfoot Tub Plumbing Diagram atelieryuwa.ciao.jp , Fasten the grid (11) to inside wall of the tub by lining the hole up with the threads and screw down till tight. Testing and troubleshooting will ensure that your plumbing is functioning properly and prevent any future problems
Source: aimlriskcfw.pages.dev Clawfoot Tub Plumbing Diagram , Clawfoot Tub Plumbing Diagram: A Guide to Understanding Your Vintage Tub's Plumbing System Fasten the grid (11) to inside wall of the tub by lining the hole up with the threads and screw down till tight.
Source: www.classicclawfoottubs.com 67" Rolled Rim Cast Iron Clawfoot Tub Classic Clawfoot Tub , In order to clean the bathtub, please only use soft towel or soft sponge Page 1 INSTALLATION AND CARE GUIDE WOODBRIDGE CLAWFOOT BATHTUB Compliance with the following codes & standard: ( UPC ) ® • 2015 Uniform Plumbing Code ( IPC ) ® • 2018 International Plumbing Code ® ( IRC ) • 2018 International Residential Code •.; Page 2.
Source: guides.brit.co How to replace a drain assembly on a claw foot tub B+C Guides , DreamLine® recommends using a professional plumbing installer if you are unfamiliar with bathroom fixtures and plumbing Follow these steps to test and troubleshoot your clawfoot tub plumbing: 1.
Source: www.pinterest.com Learn More This classic cast iron clawfoot bathub design is commonly , This deck mounted supply line set is for use with a clawfoot bathtub, or other freestanding tub that uses a Rim mounted faucet DreamLine® will not be responsible for any damage to the floor, walls,
Source: www.pinterest.com Installing a Clawfoot Tub Shower with Video Guide in 2021 Shower tub , After completing the installation of your clawfoot tub plumbing, it's important to test the system and address any potential issues Never use an abrasive materials such as a brushes to clean t he tub
Source: www.classicclawfoottubs.com 71" Cast Iron Double Ended Slipper Clawfoot Tub w/Imperial feet , 1 Tub Hull 1 2 Clawfoot Tub Feet 4 3 Short Bar 4 4 3/4" Bolts 4 5 Lock Washer 16 6 Flat Washer 16 7 Nuts 8 8 Floor Screw 4 Page 1 INSTALLATION AND CARE GUIDE WOODBRIDGE CLAWFOOT BATHTUB Compliance with the following codes & standard: ( UPC ) ® • 2015 Uniform Plumbing Code ( IPC ).
Source: atelier-yuwa.ciao.jp Clawfoot Tub Plumbing Diagram atelieryuwa.ciao.jp , Make sure to tighten the bolt into the clawfoot using the provided hex key The drain kit we used ( Kingston ) on this tub mi.
57" Cast Iron Slipper Clawfoot Tub Classic Clawfoot Tub . Double offset means there are two bends in each supply line going down to the floor Fasten the grid (11) to inside wall of the tub by lining the hole up with the threads and screw down till tight.
How to Install a Clawfoot Tub Shower . The top bends are to match up the 3-3/8" hole spread. 1 Tub Hull 1 2 Clawfoot Tub Feet 4 3 Short Bar 4 4 3/4" Bolts 4 5 Lock Washer 16 6 Flat Washer 16 7 Nuts 8 8 Floor Screw 4